Cloud Provider X (which owns Cloud X) deploys two physical servers (Physical Servers A and B) and two databases (Databases A and B). Virtual Servers A and B are hosted by Physical Server A and Ready-Made Environments A and B are hosted by Virtual Server B . Virtual Servers C and D are hosted by Physical Server B . Cloud Service Consumer A regularly accesses Virtual Server D in order to test and deploy a new cloud service that was developed on-premise by the cloud consumer organization operating Cloud Service Consumer A . Cloud Service Consumer B (operated by a different cloud consumer organization) has been regularly accessing Ready-Made Environment A in order to develop and deploy a different new cloud service.

Cloud X is a private cloud that, to-date, has been set up within the cloud provider company to provision IT resources free of charge to internal cloud consumers, via PaaS and IaaS delivery models. The cloud consumers that have been operating Cloud Service Consumers A and B represent different IT departments within the company that have been working separately on the development of new cloud services. Cloud Service Consumer A has been accessing Virtual Server D to make necessary configurations and administration settings for the upcoming deployment of a new cloud service that was previously developed outside of Cloud X. Cloud Service Consumer B has been accessing Ready-Made Environment A to develop and now deploy a different new cloud service. Cloud Provider X (which is represented by a separate IT department dedicated to governing and administering Cloud X) determines that it will need to introduce three specific enhancements to Cloud X in order to accommodate both upcoming cloud services. First, it needs to add a way to charge cloud consumers for the usage of cloud services. Secondly, it needs to add a way for new cloud services to be automatically scaled. Finally, it needs to add a way for a cloud consumer to be automatically notified when a cloud service encounters runtime loads that exceed its allocated usage threshold. Which of the following statements accurately describes a solution that fulfills all three identified requirements?
Answer : B
The cloud service owner of Cloud Service A is evaluating Clouds X, Y and Z to determine which cloud environment can offer the greatest level of reliability. All three clouds are geographically dispersed across three separate time zones. As a result, each cloud experiences usage peaks at different times. Based on the metrics provided, the greater the usage of a cloud, the lower its reliability. When the cloud service owner complains to Cloud Provider A (the owner of all three clouds) that none of the clouds provide an adequate level of reliability, Cloud Provider A suggests a solution that increases resiliency.

Which of the following statements accurately describe how a cloud balancing solution can be implemented to fulfill the resiliency requirements of Cloud Service A?
Answer : A, D
Cloud Consumer A (the organization that owns Cloud Service Consumer A) needs regular access to an external, cloud-based Weather Service that provides up-to-date weather forecast information. Cloud Providers X, Y and Z are competing public cloud providers, each offering a Weather Service with the features required by Cloud Consumer A .

Based on the provided statistics, which cloud provider can offer a Weather Service with the least amount of projected downtime?
Answer : A
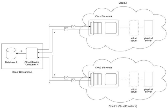
Cloud Service Consumer A accesses Cloud Service A (1) that resides in Cloud X. a private cloud owned by the same organization acting as Cloud Consumer A . Cloud Service A processes the message from Cloud Service Consumer A and then sends back a response with the requested data (2). Next, Cloud Service Consumer A sends a message containing some of this data to Cloud Service B (3), which resides in public Cloud Y that is owned by Cloud Provider Y. After processing the message. Cloud Service B sends back a response with additional data to Cloud Service Consumer A (4). Finally, Cloud Service Consumer A writes the data it collected from Cloud Services A and B to Database A (5). Recently, Cloud Service Consumer A has been required to access Cloud Services A and B at a significantly higher rate, sometimes over 1,000 times within a given workday. This increased usage has not affected Cloud Service B' s performance. Cloud Service A, however, has been generating runtime exceptions, and responses to Cloud Service Consumer A have become increasingly slow and unreliable. It is determined that this decline in performance is due to infrastructure limitations within private Cloud X' s environment. Instead of investing in new infrastructure for Cloud X, it is decided to explore the feasibility of moving Cloud Service A to Cloud Y instead.

Which of the following statements describe valid financial considerations that can be taken into account for assessing the feasibility of this move?
Answer : A, C, D
Cloud Provider X has deployed a virtualization environment in Cloud X comprised of Physical Server A hosting Virtual Servers A and B. Cloud Provider X implements Cloud Service A on Virtual Server A and makes it available to Cloud Service Consumer A, which interacts with Cloud Service A by sending and receiving messages (1, 2). Cloud Provider Y has deployed a virtualization environment comprised of Physical Server B hosting Virtual Servers C and D. Virtual Server C is made available to Cloud Service Consumer B, which interacts with Virtual Server C (3,4) in order to prepare for the deployment of a new cloud service that will be used internally by Cloud Provider Y to process data obtained from Cloud Service A .

Cloud Consumer Z and Cloud Provider X belong to the same organization. Cloud Provider Y is a third-party organization. Which of the following statements provides a valid scenario that accurately describes the involvement of cloud deployment models, cloud delivery models, roles and/or boundaries? (Note that the correct answer represents one of multiple valid scenarios that can exist.)
Answer : D
Cloud Service A is being made available on public Cloud X by Cloud Provider X via the SaaS delivery model. Cloud Service A is hosted by Physical Server A that also hosts cloud services being used by different cloud service consumers (and owned by different cloud service owners). Cloud Provider X needs to make Cloud Service A available to a new group of cloud service consumers, but must do so without the increase in usage volume affecting Cloud Service Consumers A and B .

Which of the following statements does not accurately describe a solution (or a set of solutions) that addresses this requirement?
Answer : A
A company is planning to build and launch a new SaaS product that will be available for use by the general public. It intends to build the service on-premise and then deploy it in a public cloud. The company has the following set of four requirements for the implementation of the new service:
1. The cloud service needs to exchange messages primarily by using HTTP methods and other features provided by HTTP.
2. The cloud service needs to store highly structured data with potentially complex relationships.
3. The cloud service needs to be deployed on a dedicated virtual server that can be administered with a high level of control by the cloud consumer's own cloud resource administrator.
4. The cloud service needs to be deployed with a minimal amount of integration testing.
For this project, the company has a very limited budget. The company is assessing the IT resources that are offered by Clouds X and Y within the constraints of its limited budget.
Cloud X can offer an IaaS environment with very few proprietary characteristics that includes a database that supports only no relational storage, as well as support for the deployment and usage of REST services.

Cloud Y can offer a PaaS environment with a pre-configured virtual server that includes native support for WSDL and SOAP, as well as a database that supports only relational storage. The implementation of a new service within Cloud Y will require compliance to a high level of proprietary characteristics. As previously listed, the company has identified four specific implementation requirements for its new cloud service. Which of the following statements correctly identifies how many of the four requirements Clouds X and Y can directly fulfill?
Answer : D